
产品描述:
型号:WLT
产品特点:
1.量程(kg):5kg-100kg
2.电阻应变式测量原理
3.防护等级:IP65
4.低张力情况下也能精准测量
5.结构紧凑,安装方便
6.综合精度高,长期稳定性好
7.优质合金钢,表面镀镍
8.不锈钢材质可选
9.多种安装方式,可满足各种安装需求
应用范围:
用于张力测量,检测对象包括金属丝、电线、电缆,例如可以用于测量在机械引导滚筒上用来缠绕用的张力塑料膜或胶带的张力
技术参数:
| 额定载荷(R.C.) | kg | 5,10,25,50,100 |
| 额定输出(R.O.) | mV/V | 1 |
| 零点平衡 | %R.O. | ±1 |
| 综合误差 | %R.O. | ±0.3 |
| 正常工作温度范围 | ‌℃ | -10~+40 |
| 允许工作温度范围 | ℃ | -20~+70 |
| 温度对灵敏度影响 | %R.O./10 ℃ | ±0.1 |
| 温度对零点影响 | %R.O./10 ℃ | ±0.1 |
| 推荐激励电压 | VDC | 5-12 |
| 最大激励电压 | VDC | 15 |
| 输入阻抗 | Ω | 380±10 |
| 输出阻抗 | Ω | 350±5 |
| 绝缘阻抗 | MΩ | ≥5000(50VDC) |
| 安全过载 | %R.C. | 150 |
| 极限过载 | %R.C. | 300‌ |
| 弹性元件材料 | 合金钢、铝 | |
| 防护等级 | IP66 | |
| 电缆线长度 | m | 3m |
| 接线方式 | 激励 | 红:+ 黑:– |
| 信号 | 绿:+ 白:– |
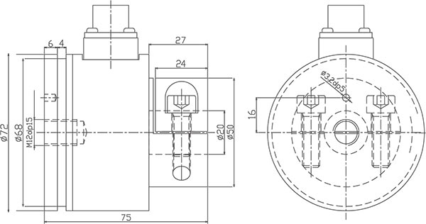
外形尺寸(mm):

接线方式:
上一篇:没有了
下一篇:造纸网张力计Z-200